Loading...
Select Version
&pagelevel(3)&pagelevel
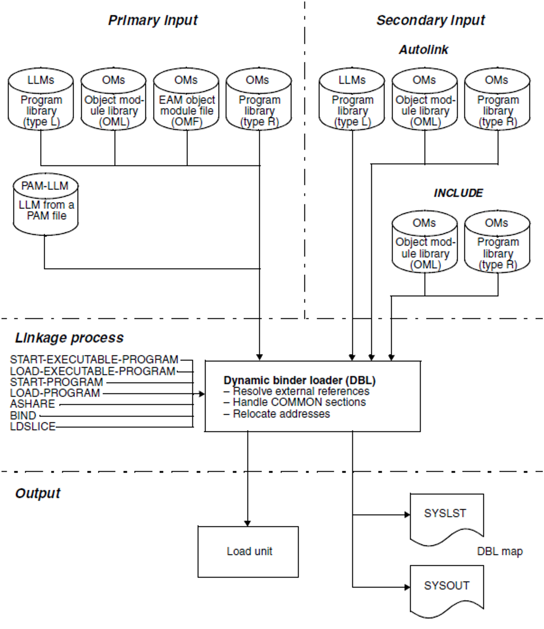
Linking and loading is performed in the following steps (see figure 2):
input to DBL
linkage
output from DBL
Figure 2: Linking and loading
