Loading...
Select Version
&pagelevel(4)&pagelevel
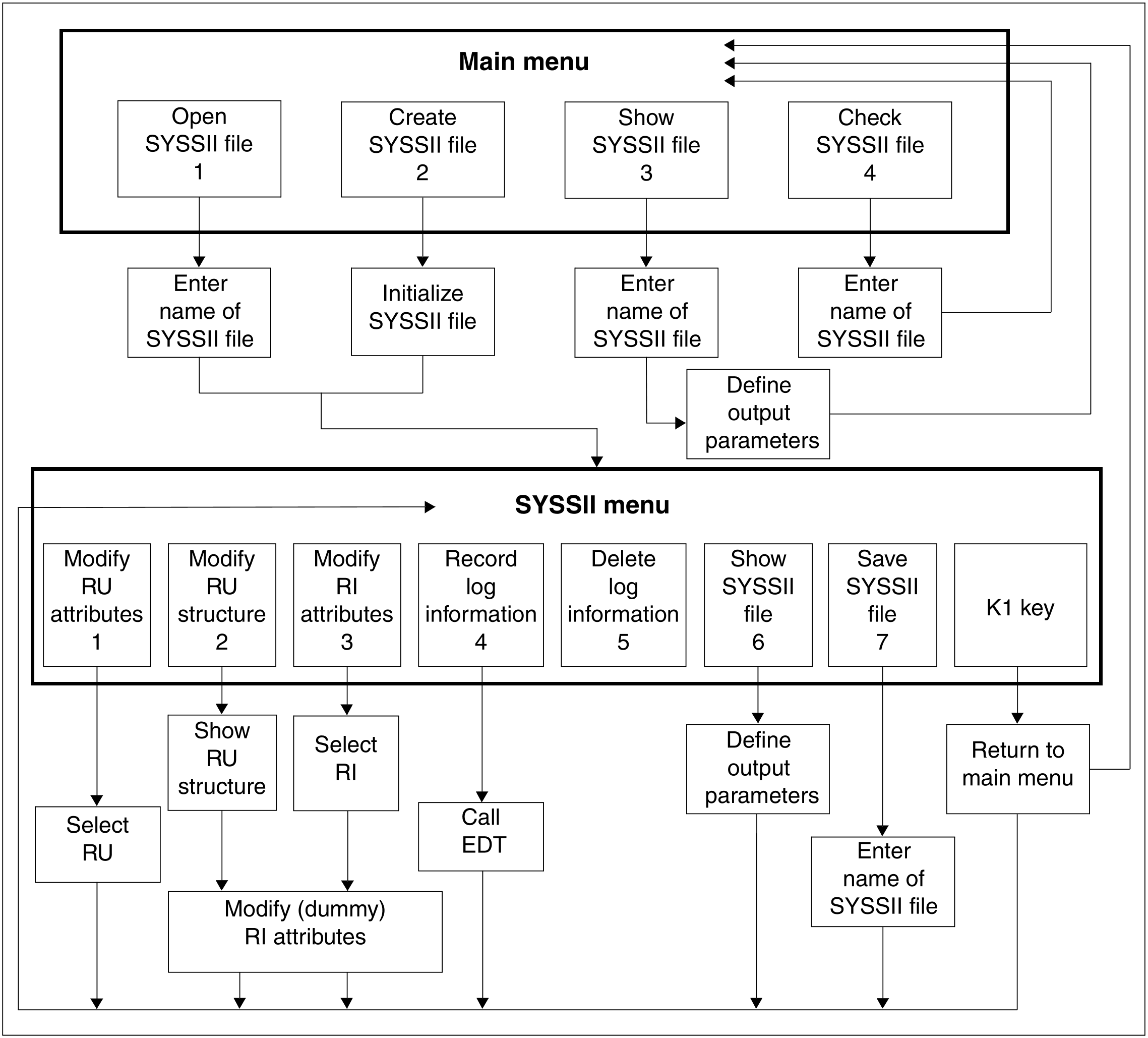
When you call IMON-SIC, the first mask which appears is the main menu. This menu enables you to select the SYSSII file you want to process.
If all you want to do is view the contents of the SYSSII file, you are returned to the main menu after you have set the output parameters and viewed the file.
If you want to edit the SYSSII file, the next mask is the SYSSII menu. This mask enables you to select the editing steps.
Figure 65: Sequence of IMON-SIC mask sequence (RU = release unit, RI = release item)
