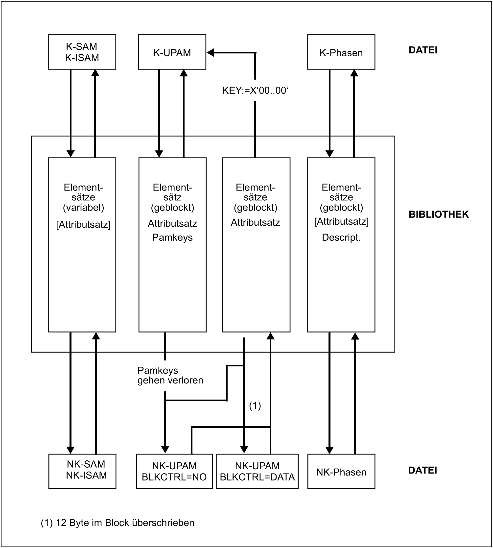
Das nachfolgende Bild zeigt einen Überblick über die möglichen Situationen beim Transfer von Daten zwischen Datei und Bibliothekselementen.
Für die Elemente sind die logischen Informationseinheiten aufgeführt; für die Dateien ist der BLKCTRL-Wert angegeben.
Die Pfeile beschreiben die Transfer-Richtung.
Transfer von Daten zwischen Datei und Bibliothekselementen Verhalten bei der ADD-ELEMENT-Anweisung
Über die ADD-ELEMENT-Anweisung werden Datei-Inhalte in Elemente abgelegt. Im Einzelnen gilt für:
SAM/ISAM-Dateien
Bei Aufnahme von SAM- und ISAM-Dateien wird der BLKCTRL-Wert mit abgespeichert, wenn SOURCE-ATTRIBUTES=*KEEP gesetzt ist, d.h. die ursprüngliche, vom BLKCTRL-Wert geprägte Blockstruktur der Datei wird im Attributsatz dokumentiert.
Die Daten werden über die logische Zugriffsmethode SAM/ISAM gelesen (Einzelsätze) und unverändert ins Element geschrieben (als Sätze variablen Formates).Die erzeugte Elementstruktur ist unabhängig von der ursprünglichen BLKCTRL-Eigenschaft.
PAM-Dateien
Bei Aufnahme von PAM-Dateien wird der BLKCTRL-Wert generell mit abgespeichert. Die Blöcke der Datei werden über die Zugriffsmethode UPAM gelesen und unverändert als Block im Element gespeichert. Sind PAM-Schlüssel vorhanden, d.h. BLKCTRL= PAMKEY, so werden diese PAM-Schlüssel beim Element abgelegt.
Das erzeugte Element behält somit die vom BLKCTRL-Wert geprägte Blockstruktur bei.Phasen
Bei Aufnahme von Phasen wird der BLKCTRL-Wert nicht abgespeichert. Die entsprechende Formatangabe ist in der Phaseninformation auf Datei hinterlegt. In der PLAM-Bibliothek haben K-Phasen und NK-Phasen gleiches Format. Die PAM-Schlüssel-Informationen sind in Deskriptoren abgelegt
.ADD datei>element
Datei-Typ
BLKCTRL-Eintrag
im AttributsatzPamkey-
SpeicherungDatei liegt auf
NK-Platte
SAM/ISAM
SAM/ISAM
UPAM
— 1
aus dem Katalog
aus dem Katalog
nein
nein
Datei liegt auf K-Platte
SAM/ISAM
SAM/ISAM
UPAM
— 1
aus dem Katalog
aus dem Katalog
nein
für BLKCTRL=PAMKEY
1die Ablage kann über den Operanden SOURCE-ATTRIBUTES gesteuert werdenVerhalten bei der EXTRACT-ELEMENT-Anweisung
Über die EXTRACT-ELEMENT-Anweisung werden Elementinhalte in Dateien ausgegeben. Der BLKCTRL-Wert wird über folgende Hierarchie bestimmt:
Angabe im Katalogeintrag oder ADD-FILE-LINK-Kommando.
Gespeicherter BLKCTRL-Wert beim Element. Er ist nur bei ursprünglichen PAM-Dateien relevant.
Einstellung der CLASS2-Option BLKCTRL: PAMKEY oder NONKEY. Er kann mit dem Kommando SHOW-SYSTEM-PARAMETERS angezeigt werden.
Platteneigenschaft K oder NK.
Ist kein Katalogeintrag vorhanden und der BLKCTRL-Wert nicht gespeichert, so entscheidet die CLASS2-Option und die Platteneigenschaft über den BLKCTRL-Wert:
Ist die CLASS2-Option BLKCTRL auf PAMKEY gesetzt, so lässt LMS das System den BLKCTRL-Wert bestimmen, d.h. BLKCTRL = <not specified>.
Ist die CLASS2-Option auf NONKEY gesetzt, so setzt LMS für SAM- und ISAM-Dateien BLKCTRL = DATA und für PAM-Dateien BLKCTRL = NO.
Im Einzelnen gilt für:
ISAM-Dateien
Die variabel langen Elementsätze werden mit der logischen Zugriffsmethode ISAM geschrieben. Der BLKCTRL-Wert der Datei wird nach dem oben beschriebenen Algorithmus bestimmt, wobei allerdings Punkt 2) entfällt, da der beim Element gespeicherte BLKCTRL-Wert nur dokumentarischen Charakter hat; er wird ignoriert.
SAM-Dateien
Bei BLKCTRL=DATA tritt ein DVS-Fehler auf, wenn im Element Sätze länger als 32Kbyte - 16Byte sind. In der K-Welt dürfen diese Sätze bis zu 32Kbyte - 4Byte lang sein. LMS reicht beim Selektieren zu lange Sätze ungeprüft an DVS weiter.
Der BLKCTRL-Wert wird wie bei ISAM ermittelt.
PAM-Dateien (Typ X Elemente)
In der NK-Welt gehen die PAM-Schlüssel verloren. Zusätzlich werden bei BLKCTRL= DATA die ersten 12 Byte eines jeden logischen Blockes durch das System überschrieben. In beiden Fällen gibt LMS eine Warnung aus. Im Falle von Phasen und PLAM-Dateien unterbleibt die Warnung.
Phasen (Typ C Elemente)
Phasen werden gesondert behandelt.
Neben dem alten Phasenformat (K-Phase) gibt es ein PAM-Schlüssel-freies, neues Phasenformat (NK-Phase) auf Dateiseite.

