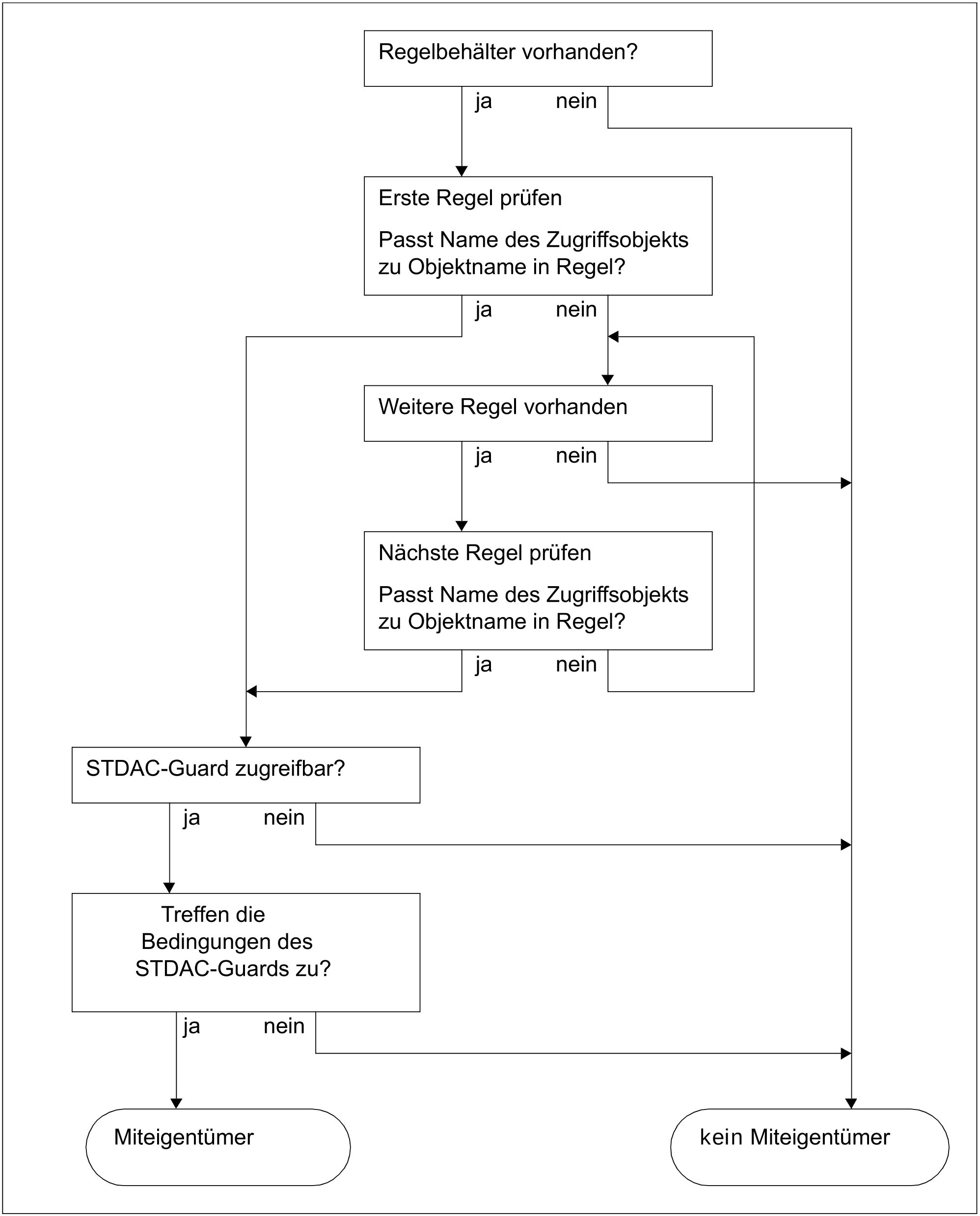
Ein Regelbehälter kann mehrere Regeln enthalten, die wiederum jeweils aus mehreren Bedingungen bestehen. Daher muss die Prüfung einer ganz bestimmten Logik folgen.
Suche nach gültigen Regeln
Die Regeln werden in der Reihenfolge geprüft, in der sie im Regelbehälter eingetragen sind. Die Prüfung ermittelt, ob die Regel auf das Objekt (Datei oder Jobvariable) zutrifft, auf das zugegriffen werden soll. Der Name des Zugriffsobjekts wird nacheinander mit dem Objektnamen in der ersten, zweiten, ... n-ten Regel des Regelbehälters verglichen, so lange, bis ein passender Name gefunden wurde oder keine weitere Regel vorhanden ist.
Ist eine passende Regel gefunden, wird die Suche im Regelbehälter abgebrochen und die entsprechende Miteigentümerbedingung überprüft.
Wird keine passende Regel gefunden, gilt die Standardregelung des Systems: Die Benutzerkennung TSOS ist der einzige Miteigentümer des Objekts.
* Dieser Regelteil betrifft die Überprüfung der Miteigentümerschaft für die Benutzerkennung TSOS, Näheres siehe Abschnitt „Einschränkung der TSOS-Miteigentümerschaft“
Überprüfung der Miteigentümerbedingungen
Die Überprüfung der Miteigentümerbedsingungen hängt davon ab, ob der Zugreifer das TSOS-Privileg besitzt oder nicht:
Für nichtprivilegierte Benutzer gilt:
Die Objektnamen jeder Regel sind mit den Zugriffsbedingungen (STDAC-Guards) verknüpft. Wurde eine Regel mit einem passenden Objektnamen gefunden, liefert die Auswertung des STDAC-Guards das Ergebnis, ob der Zugreifer Miteigentümer des Objekts ist oder nicht.
Für Benutzer mit TSOS-Privileg liefert die Auswertung des Regelattributs TSOS-AC-CESS das Ergebnis, ob der Zugreifer Miteigentümer des Objekts ist oder nicht (siehe Abschnitt „Einschränkung der TSOS-Miteigentümerschaft“).
Die folgende Grafik verdeutlicht die gesamte Prüflogik des Miteigentümerschutzes für Benutzer ohne TSOS-Privileg. Die Prüflogik, die dabei der Auswertung von STDAC-Guards zugrunde liegt, finden Sie im Abschnitt „Zugriffsbedingungen definieren“.
Bild 21: Prüflogik des Miteigentümerschutzes für Benutzer ohne TSOS-Privileg

