Loading...
Select Version
&pagelevel(4)&pagelevel
Juniper switches are used on the Net Unit of an SE330 / SE330B and SE730 / SE730B.
Figure 24: Net Unit (Juniper EX3400-48-AFI)
Figure 25: Net Unit (Juniper EX3400-48-AFI): Ports and control panel scheme
| 1 | RJ-45 ports |
| 2 | Chassis status LEDs |
| 3 | Port status mode LEDs |
| 4 | Factory Reset/Mode button |
| 5 | Mini-USB console port |
| 6 | Uplink ports |
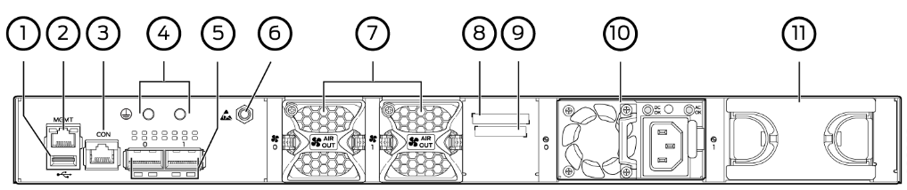
Figure 26: Net Unit (Juniper EX3400-48-AFI): Connections scheme
| 1 | USB port |
| 2 | Management Ethernet port |
| 3 | RJ-45 console port |
| 4 | Protective earthing terminal |
| 5 | QSFP+ uplink ports |
| 6 | ESD point |
| 7 | Fan modules |
| 8 | CLEI code label |
| 9 | Serial number ID label |
| 10 | AC power supply |
| 11 | 2. AC power supply (covered in the scheme) |
