Loading...
Select Version
&pagelevel(4)&pagelevel
Juniper-Switche werden in der Net Unit von SE330 / SE330B / SE340 und SE730 / SE730B / SE740 verwendet.
Bild 24: Net Unit (Juniper EX3400-48-AFI)
Bild 25: Net Unit (Juniper EX3400-48-AFI): Schema Ports und Kontrollfeld
| 1 | RJ-45 Ports |
| 2 | LEDs Chassis-Status |
| 3 | LEDs Port-Status-Modus |
| 4 | Reset-Knopf |
| 5 | Mini-USB Konsol-Port |
| 6 | Uplink-Ports |
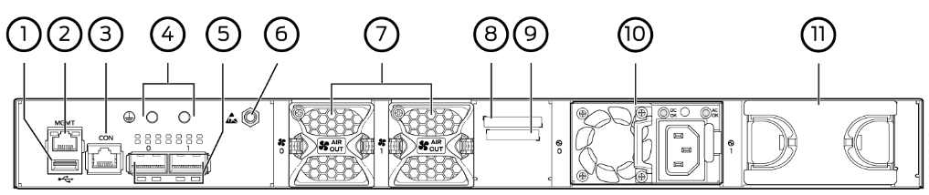
Bild 26: Net Unit (Juniper EX3400-48-AFI): Schema Anschlüsse
| 1 | USB-Port |
| 2 | Management Ethernet-Port |
| 3 | RJ-45 Konsol-Port |
| 4 | Schutzerdungsvorrichtung |
| 5 | QSFP+ Uplink-Ports |
| 6 | ESD-Punkt für elektrostatische Entladung |
| 7 | Lüftermodule |
| 8 | CLEI-Code |
| 9 | Seriennummer ID |
| 10 | AC-Netzteil |
| 11 | 2. AC-Netzteil (im Schema abgedeckt) |
